Revision history
|
Rev.
|
Description
|
Date
|
By
|
|
A
|
Draft
|
June 10, 2002
|
OM
|
|
|
|
|
|
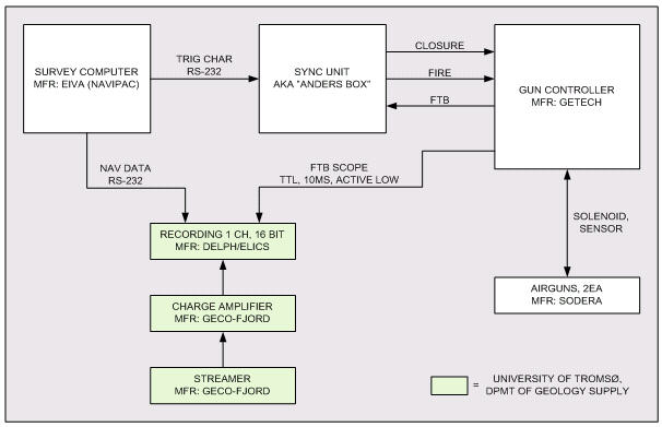
Instrumentation block diagram and description

Fig. 1. Instrumentation block diagram (high pressure air to guns
not shown). Click to see larger version.
| Pos. |
Instrument /
unit, manufacturer |
Instrument / unit
picture |
Supplier |
Qty. |
Links |
| 1 |
Airgun controller "GUNCO"
Mfr.: Getech, Horten, Norway |
 |
IFJ, UiB |
1 |
Instrument
web page |
| 2 |
Synchronizing Unit
Interface to Survey Computer
Mfr.: In-house IFJ, UiB |
 |
IFJ, UiB |
1 |
Unit
web page |
| 3 |
Airguns
Mfr: SODERA |
|
IFJ, UiB |
4 |
Spare parts |
| 4 |
Signal/air harness |
|
IFJ, UiB |
3 complete
+ spares
+ "XMAS three" |
One Harness comprising (from gun
side):
- Signals
- 1 ea Signal pig tail, green (solenoid), mfr. Sodera, p/n
SJ-1-GR
- 1 ea Signal pig tail, blue (sensor), mfr.: Sodera, p/n
SJ-1-BU
- 1 ea signal Y-split, mfr.: AG Geophysical
- 2 ea 4-way signal cable, terminated in QXA-4/12 conn.,
Mfr: Geco-Fjord Instruments, 22 m
- Air hosing
- 1 ea Adapter JIC ext/int threading 3/4" -
9/16".
Supplier: Tess, Bergen, p/n 7515-08-06
Note: Order galvanized units next time!
- 1 ea Air pigtail, ca. 3 m. 3/4" threading
Supplier: Tess, Bergen
- 2 ea Air hosing, 20 m
Supplier: Tess, Bergen
- 2 ea adapter, ext/ext threading, 3/4"
Supplier: Tess, Bergen
Spares:
- Signals
- 2 ea Signal pig tail, green (solenoid), mfr. Sodera,
p/n SJ-1-GR
- 2 ea Signal pig tail, blue (sensor), mfr.: Sodera, p/n
SJ-1-BU
- 1 ea signal Y-split, mfr.: AG Geophysical
- 4 ea 4-way signal cable, terminated in QXA-4/12 conn.,
Mfr: Geco-Fjord Instruments, 22 m
- Air hosing
- 6 ea Adapter JIC ext/int threading 3/4" -
9/16".
Supplier: Tess, Bergen, p/n 7515-08-06
Note: Order galvanized units next time!
- 4 ea Air pigtail, ca. 3 m. 3/4" threading
- 3 ea Air hosing, 20 m
- 10 ea adapter, ext/ext threading, 3/4"
"XMAS Three", for air distribution (IFJ, UiB
supply) |
| 5 |
Airgun towing arrangement |
|
IFJ, UiB |
NA |
Part list, for one gun:
- D-shackle, standard, 20 mm bolt, galvanized.
Supplier: John Dahle Skipsutstyr, Stavanger, Norway
- Bow shackle, galvanized, 14mm bolt
Supplier: Giertsen Skipshandel, Bergen, Norway. p/n 3260024
- Rope Thimble ('kause') for 24 mm rope, galv.
Supplier: Giertsen Skipshandel, Bergen, Norway. p/n 3431016
- 24 mm rope
Supplier: Giertsen Skipshandel, Bergen, Norway. p/n 3431016
- Locking string for shackles
|
| 6 |
Streamer
Mfr: Geco-Fjord Instruments |
|
GI, UiTų |
1 |
|
| 7 |
Spare streamer
Mfr.: Teledyne |
|
GI, UiB |
1 |
Unit
web page |
| 8 |
Recording system
Mfr.: Triton-Elics |
|
GI, UiTų |
1 |
Unit
web page |
| 9 |
Toolbox |
|
IFJ, UiB |
1 |
Content
|
| 10 |
Misc. |
|
IFJ, UiB |
NA |
- 1 ea Log book
- Paper, pencils, pens
- 20 ea CD-R, for data backup, mfr.: Kodak, supplier www.komplett.no
- 8 ea Tape, Geco grey
|
Legend:
-
IFJ = Institute of Solid Earth Physics
-
GI = Department of Geology
-
UiB = University of Bergen
-
UiTų = University of Tromsų
Acquisition parameters
Seismic second = 1.024 s
1 MByte = 1024 * 1024 = 1 048 576 bytes
| Parameter |
Value |
| Target depth |
1 - 1.5 km |
| Target sound velocity |
18-1900 m/s |
| Shot interval |
50 m ( => 24 s interval at 4 knots
ship speed) |
| Sample interval |
2 ms (500 Hz) |
| Recording duration |
12 s |
| No. of channels |
1 |
8 second recording time should be sufficient. Let's make
a worst-case calculation by assuming a water depth of 3600m. This yields
a 4.8 s TWT through the water column, leaving 3.2 s TWT for the sediment
section. Half this time - 1.6 s - is used to actually reach the deepest
reflection point. With a sediment sound velocity of 1800 m/s we thus
reach (1800 * 1.6) = 2880 m below the sea bottom (the seismic second is
actually a bit longer, providing even deeper imaging).
Survey area, lines, data parameters
Norwegian Sea
| Line ID (from south) |
Distance |
Mean water depth and TWT,
[Sound speed = 1510m/s] |
No. of shotpoints
[Shot interval = 50 m] |
| 1 |
225 km |
1400 m (1.9 s) |
4500 |
| 2 |
215 km |
2500 m (3.3 s) |
4300 |
| 3 |
153 km |
3000 m (4.0 s) |
3060 |
| 4 |
155 km |
3300 m (4.4 s) |
3100 |
|